一种新型垂起无人机总体设计
2021年8月16日 10:220 引言
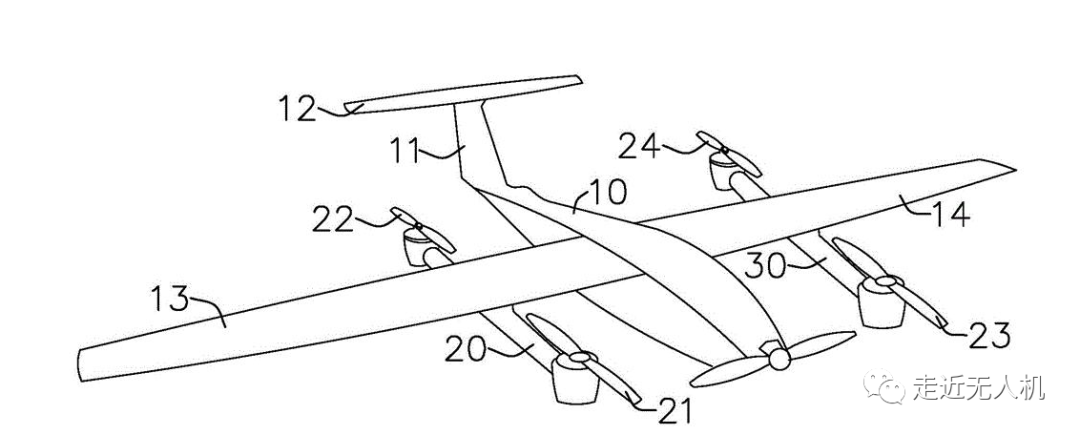
1 总体初步布局
通过参考同类垂起无人机,本文提供一种新型垂起无人机的总体设计,系统方案为在机翼的l两边分别布置2组螺旋桨,机翼为可折叠设计。在地面时,4个螺旋桨整流罩底座充当无人机的起落架。垂起状态时,依靠4个螺旋桨提供升力飞行,此时无人机为相当于一个四旋翼,可以实现四旋翼的所有飞行功能。在无人机悬停状态到巡航状态过渡时,机体尾部的大行程直线舵机(或直线丝杆)通过控制机翼内部铰链机构带动机翼倾转。此时,4个螺旋桨即为无人机提供前飞动力,降落过程与上述飞行过程相反。
方案布局设计
2 重要参数评估
2.1 起飞重量评估
根据无人机总体指标要求,统计系统重量G,起飞重量包括空机G1、动力系统G2、电池G3、航电系统G4、载荷G5……。一般小型无人机空机结构重量系数f在0.25-0.35范围内。所有系统的重量可根据初步结构设计获得,也可参考同类型飞行进行估算。
2.2动力系统选型设计
动力系统在无人机悬停、巡航以及最大速度时,需提供足够的升力或推力,以满足功率需求。且在悬停时功率消耗最大。为实现较高前飞推进效率,无人机在巡航模式下,动力系统转速会较垂起模式时低,巡航功率仅为悬停功率的10%-20%左右。在确定动力系统后,可通过实验测试出动力系统的不同油门时力效、功率、扭矩、转速等数据。
动力系统部分数据
为了适应垂起状态、过渡模式、巡航模式以及各种飞行状态的动力输出,不仅要求飞控系统在控制算法上进一步优化,动力系统需要满足在整个过程总能效最高。
2.3 翼载荷确定
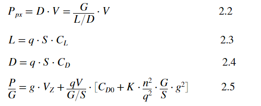
结合现有无人机初步评估翼形、尾翼、升致阻力因子K 、零升阻力系数CD 、升力系数CL,升阻比L/D、升阻特性,飞机极数曲线等重要性能,确定无人机的需用功率PPX,再根据需用功率选取合适的螺旋桨和电机。无人机定常平飞时,需用功率为与飞行速度V的关系可由下式(2.2)得出:
2.4 续航计算
无人机的航程和航时受到数据链、电池能量、升阻特性、动力系统效率等限制,在不考虑数据链的情况下,续航时间t理论计算如下式:
式中:Q为电池总能量(Wh);ηd为巡航动力系统效率;P为巡航功率(W)。
3 总体详细设计
3.1 机翼几何参数
首先机翼载荷q,初步评估机翼的面积S=G/q。然后根据总体设计指标,同时参考同类无人机的相应参数。评估机翼翼展B、展弦比λ、平均几何弦长、尖削比b0/b1、前缘后掠角X0、后缘后抹角X1、翼形、等机翼重要参数,进行迭代计算。
一般而言,展弦比增大,升致阻力减小,升阻比增大;弦长减小,雷诺数降低,气动效率降低;展弦比增大,弦长减小,翼型厚度减小,机翼结构重量上升。尖削比影响升力展向分布,当展向升力分布接近椭圆时,升致阻力最小,低速机翼一般取0.4-0.5。后掠角增加,横向稳定性增大,尾翼舵效增加,纵向阻尼增强,纵向稳定性增强。
雷诺数是惯性力与粘性力的相对大小度量,雷诺数越小则空气粘性力影响越大。雷诺数的选择与无人机飞行速度、气动外形、翼形有关,通常无人机的雷诺数普遍在10万到100万之间,适当增大雷诺数可以减小阻力系数。雷诺数计算公式:
式中;V为空气流速;ρ为空气密度;μ为空气黏性系数;l为一特征长度,l=S/B。初步确定机翼几何尺寸后,进一步确定设计升力系数CL
式中;V为巡航速度,理想状态下,流速与巡航速度相等。
根据无人机飞行速度要求,可以使用profili翼形分析软件对所设计的翼型进行雷诺数分析,为机翼的弦长度、厚度等参数的提供参考。由下图可知翼形的巡航升阻比为16.9。其升力系数为0.84,阻力系数为0.049,(整机升阻比还应考虑机身、电机座整流罩、载荷等)。
机翼极曲线
3.2 尾翼设计
尾翼能够保证倾转翼无人机在固定翼模式下具有良好的稳定性与操纵性,还可以起到配平的作用。尾翼采用V型尾翼,其兼具垂尾和平尾的功能。当两边舵面作相同方向偏转时,起升降舵作用,当两边舵面分别作不同方向偏转时,则起方向舵作用。尾翼详细参数计算采用典型飞机的尾翼容量系数法。若采用V形尾翼,尾力臂需投影在水平面内。根据机翼面积S1和机翼翼展L1,尾翼尾容量A2取0.02,可求得尾翼面积S2:
式中:L、尾翼尾力臂。
3.3 舵面设计
对于倾转机翼无人机在固定翼模式下,一般在机翼后缘布置舵面实现横滚功能,在V尾后缘布置舵面实现偏航和俯仰功能。舵面运动靠舵机拉杆机构实现,利用飞控系统实现对横滚,俯仰和偏航的控制。舵面设计要根据后期操纵性分析能来进一步确定,包括舵面大小、舵机选型、铰链力矩、响应速度等等。V尾舵面相对V尾面积一般约取为30%-40%。副翼面积相对机翼面积一般为5%-7%,副翼相对弦长约为20%-25%,一般舵面偏角不超过25°。
3.4 重心位置确定
在四旋翼模式下,重心位置应为四个动力系统的中心,在固定翼模式下,重心需要调整到机翼前缘偏后。为使倾转无人机在这两种模式及其过渡模式保持稳定的飞行特性,需要飞控参与控制。重心位置最终确定可以根据操稳特性计算后,通过移动电池或配重位置来调整,重心位置的确定是保证飞机具有良好控制性的前提。尤其是在过渡模式下,飞控需要同时进行多旋翼及固定翼两种模态控制,无人机在此状态受力非常复杂,存在拉力失稳的情况,各个通道之间偶耦合较大,无人机容易出现吊高现象。
重心位置及总体尺寸
3.5 结构与强度设计
结构设计关键技术点,一是机体静结构。根据机翼载荷来进行结构强度设计。在满足结构强度的情况下,结构重量尽量轻,全机主乘力部件机翼横梁和机身结构采用碳纤维管组合。机体蒙皮采用一体成型碳纤维复合材料。机翼内部剖面采用轻木进行桁架结构设计。二是机体动结构,即倾转操纵结构,在机翼轴向折叠处铰链机构需满足机翼折叠与展开的运动功能与强度要求。无人机的升力、机翼阻力、机翼的气动载荷、操纵力等均是是靠铰链机构传递到机身,受力环境比较复杂。可根据结构方案建立强度有限元模型来分析。
结构与强度
3.6 无人机气动特性分析
气动特性包括飞机的升力特性、阻力特性和力矩特性。以此进行四旋翼模态、过渡模态、固定翼模态气动分析。根据不同结构依次进行模型建立与网格划分。完成气动力学仿真,无人机在空气中飞行,流体介质为空气,重点计算部位需进行网格加密。通过分析可以初步发现当机翼倾转时,机翼迎角自然增加,比传统的倾转旋翼的阻力要小很多。而且倾转机翼还能够减少了旋翼桨尖下洗气流垂直撞向机翼形成气动干扰,因此在悬停和垂起时,比倾转旋翼稳定。
3.7 控制逻辑分析
该机型具有三种飞行模态,多旋翼飞行模态,过渡飞行模态,固定翼飞行模态,起飞,降落时使用多旋翼模态,升力完全由4个旋翼提供,飞行姿态调整通过4个旋翼差速控制来实现,过渡模态时,总升力有螺旋桨在竖直方向的分力与机翼升力组成,随着机翼的展开与前飞速度的增加,机翼的迎角增大。机翼升阻比变化影响升力变化,从而影响控制策略。在控制方面,无人机飞行姿态的调整通过7个通道进行,通过V尾舵实现俯仰和航向控制。通过副翼舵差动偏转实现横滚控制。固定翼模态时控制方式常规固定翼一致。
旋翼模态姿态控制回路
固定翼模态姿态控制回路
3.8 操纵性与稳定性分析
稳定性是无人机设计的一项重要指标。稳定性与操纵性是相对的,也是统一的。当无人机受到扰动时,会偏离平衡状态。如果扰动消除,不经过操纵控制,无人机能够回复到原平衡状态;无人机的操纵性是指无人机飞控通过控制无人机姿态的能力,前提是无人机的操纵机构必须要满足控制无人机俯仰、横滚、航向的能力。
稳定性分析主要是通过无人机的气动导数来判断,主要包括横航向静导数,纵向动导数、横向动导数、航向动导数、操纵导数、全机稳定性分析、全机操纵性分析以及飞行性能分析,其计算方式参看飞机设计手册,分析结果参考飞行品质规范MIL-F-8785C对方案特性进行评价。
4 结语
该新型垂起无人机在结构形式上较新颖,在气动方面有一些优势。但是在折叠结构设计以及飞控控制率设计方面难度较大,尤其是机翼折叠结构的强度及材料要求较高,稳定性与可靠性还有待提高,另外在总体设计过程中,三大核心数据功重比、翼载荷、升阻比之间的关系是独立而统一的,是决定无人机性能指标的重要顶层数据,需要反复计算校核。该机型在满足最大起飞重量的情况下,搭载不同载荷,拥有长续航时间和较大的飞行半径。可有效覆盖周边区域,开展长时间、大面积巡检,可以应用于航空测绘、电力巡检、环境保护等领域。
文章来源:走进无人机
工程师必备
- 项目客服
- 培训客服
- 平台客服
TOP




















