法兰垫片密封原理及泄漏形式
2022年8月18日 14:53 浏览:2598 收藏:3
来源:阀门之声
如有侵权,请联系删除
垫片密封的基本概念
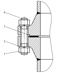
垫片密封是工业装置中压力容器、工艺设备、动力机器和连接管道等可拆连接处最主要的密封结构形式,它通常由法兰、垫片及连接螺栓、螺母组成,总称法兰密封接头。法兰密封接头的结构形式见图1。

图1 法兰密封接头的结构形式
1-螺母2—法兰3—垫片4-螺栓
垫片密封机理
泄漏就是介质从有限空间内部流到外部,或从外部进入有限空间内部的人们不
希望发生的现象。介质流动通过内外空间的交界面,即密封面发生泄漏。产生泄漏的根本原因是接触面存在间隙,而接触面两侧的压力差、浓度差则是泄漏的推动力。由于密封面的形式及加工精度等因素的影响,导致密封面不完全吻合,即密封面上会出现间隙,从而发生泄漏。要减少泄漏,就必须使接触面最大限度地嵌合,即减少泄漏通道的横截面积、增加泄漏阻力,使之大于泄漏推动力。对密封面施加压紧载荷可以产生压紧应力,提高密封面的接触程度,当应力增大到足以引起表面产生明显的塑性变形时,就可以填补密封面的间隙,以堵塞泄漏通道。采用垫片的目的就是借助垫片材料在压紧载荷的作用下较容易产生塑性变形的特性,使之填平法兰密封面的微小凹凸不平,从而实现密封。
在法兰密封接头中,压紧垫片的力使垫片材料产生变形,从而填满法兰密封面间的微间隙。
垫片密封连接的泄漏形式
在法兰密封接头中,垫片是主要的密封元件。对于非金属垫片,连接的密封是通过拧紧螺栓,造成法兰与垫片接触表面及垫片内部较大的压紧应力,一方面使垫片表面与法兰表面紧密贴合,填满法兰表面的微间隙,另一方面减小垫片材料的孔隙率,即减小被密封流体的泄漏通道。由于任何加工方法都不可能形成绝对光滑的理想表面,也不可能实现密封面间的完全嵌合以及密封件本身孔隙的完全阻塞,所以在相互接触的密封面间和密封件的内部总是存在着微小的间隙或通道。因而,对于垫片密封来说,泄漏总是不可避免的。当介质以一定的压力通过螺栓-法兰连接时,总会在密封点处出现泄漏。分析这种现象可以发现,泄漏是以两种形式出现的,即“界面泄漏”和“渗透泄漏”,如图2所示。
垫片压紧应力不足,法兰密封面粗糙,管道的热变形、机械变形以及振动等都会造成垫片与法兰密封面之间贴合不严而发生泄漏。此外,法兰接头在操作工况下由于温度、压力的作用,螺栓变形伸长,垫片蠕变松弛、回弹能力下降,垫片材料老化、变质等也会造成法兰与法兰密封面之间的泄漏。这种发生在垫片与法兰密封面之间的泄漏称为“界面泄漏”。
2.渗透泄漏
非金属垫片通常由植物纤维、动物纤维、矿物纤维或化学纤维与橡胶黏结压制而成,或由柔性石墨等多孔材料制作而成。由于其组织疏松,致密性差,纤维与纤维之间存在无数微小间隙,因此很容易被介质浸透,特别是在压力作用下,介质会通过材料内部的孔隙渗透出来。这种发生在垫片材料内部的泄漏称为“渗透泄漏”。

图2 “界面泄漏”与“渗透泄漏”
技术邻APP
工程师必备