压力水管 - 水电站的“动脉血管”
浏览:4778
压力水管是指从水库或水电站平水建筑物(压力前池或调压室)向水轮机输送水量的管道。它是水电站的重要组成部分,其特点是坡度陡,内水压力大,靠近厂房,且承受水击的动水压力。故又称为高压管道或高压水管。
压力水管道的功用是输送水能。可以说压力钢管就相当于水电站的“动脉血管”。
一、压力水管的结构形式
按结构、材料、管道布置及周围介质的不同,压力水管的结构形式也不同。
(一)坝体压力水管
1、坝内埋管
埋设在坝体混凝土中的压力管道称为坝内埋管,常采用钢管,布置形式有:
斜式
平式
竖井式
2、坝后背管
坝内埋管的安装与大坝施工干扰较大,且影响坝体强度。为此,可使钢管穿过上部坝体后布置在下游坝坡上,成为坝后背管。
(二)地面压力管道
引水式地面厂房的压力管道通常沿山坡脊线露天敷设成地面压力管道,称为明管,又称露天式压力水管。
根据管道材料不同,常有以下两种:
1、钢管
2、钢筋混凝土管
(三)地下压力管道
当地形地质条件不宜布置成明管或电站布置在地下时,往往将压力管道布置在地面以下成为地下压力管道,地下压力管道有地下埋管和回填管两种。
二、压力水管向水轮机的供水方式
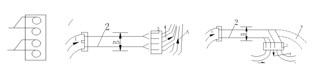
1、单独供水:一根压力水管只向一台机组供水,即单管单机供水。
2、联合供水:由一根总管在末端分岔后向电站所有机组供水。
3、分组供水
每根主管在末端分岔后向两台或两台以上机组供水,即多管多机供水。
无论采用联合供水或者分组供水,与每根水管相连的机组台数一般不宜超过4台。
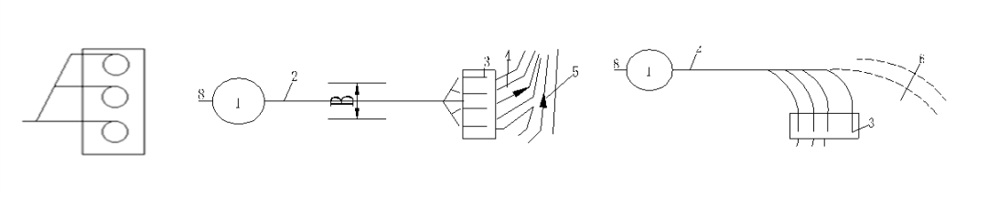
三、压力水管进入水电站厂房的进水方式
压力水管的轴线与厂房的相对方向可以采用正向、侧向或斜向的布置。
正向进水
侧向进水
斜向进水
文章来源:草根水利
技术邻APP
工程师必备
工程师必备
- 项目客服
- 培训客服
- 平台客服
TOP




















