电子设备热设计(Thermal Design of Electronic Equipment)-10 相变传热与导弹导引头散热
2023年8月28日 10:321. 相变传热
相变冷却的传热过程比一般的传热模式复杂得多。
相变表示为以下过程:
a.固体变为液体--熔化
b.液体变为蒸汽--蒸发,也可沸腾
c.蒸汽变为液体–冷凝,
e.液体变为固体--结晶,或冷冻
f.固体变为蒸汽–升华
g.蒸汽变为固体–沉积
举例来说,在绝对零度以上的任何温度下,液体中的分子都在不断运动。其中一些分子的速度将高于平均值。如果其中一个高速分子的能量大于内聚力,分子就可以通过液体表面“逃逸”,这就是蒸发。由于这些速度更高的分子比其余分子含有更多的能量,所以能量的减少会导致本体液体冷却。
如果液体在密闭的外壳中,逸出的分子就会充满空气空间。一些“逃逸”的液体分子甚至会重新进入液体。最终,从液体中逸出的分子数量等于重新进入液体的分子数量。当这种情况发生时,我们称空气空间为饱和蒸汽。由于分子在这个外壳内施加压力,我们称之为饱和蒸汽压。如果我们增加空气空间内的压力,或减少空气空间的体积,蒸汽将包含比它所能容纳的更多的流体颗粒。然后我们可以说我们已经使蒸汽过饱和了。
如果外壳的壁突然冷却,我们会再次使蒸汽过饱和。随机移动的液体分子撞击冷却的外壳壁,会离开蒸汽状态,返回液体状态,形成冷凝。这也是一个相的变化—从气相到液相。
升华的过程发生在材料从固相直接变为气相时。与升华相反的是沉积,即气相直接转变为固体。
材料的三相点是温度和压力条件的组合,在这些条件下,材料可以同时以固态、液态和气态存在。水在4.58 Torr 时具有0.01°C的三相点,如下图所示。升华点是指材料以固体和蒸汽形式存在的温度和压力。临界点是没有任何压力会导致蒸汽液化的温度。当分子移动得如此之快,以至于内部内聚力不足以形成表面时,就会发生这种情况。
当物体吸收能量时,物体将显示出由物体比热定义的温度升高。我们称这种温度升高为显热。另一种形式的热是潜热,物体通过潜热吸收能量,但温度不会升高。汽化潜热高于聚变潜热,是因为分子在气体中的间隔比在液体中的间隔更远。
由于这些过程涉及流体介质,通常将其归类为对流过程。此外,相变期间的热传递并不总是随着介质温度的变化而发生。事实上,可以在温度变化非常小的情况下实现非常大的热传递速率。这就是相变传热的吸引力之一。此外,与自然或强制对流相比,增加温差可能会导致传热系数降低。由于变量的数量,没有准确的通用方程或相关性可供使用。在可用的方程中,大多数都有一个随表面特性变化的经验值,必须通过实验进行评估。但在没有实验验证的情况下,这些相关性的准确性可能只有50%。
尽管相变传热尚未广泛用于电子冷却,但随着部件热通量的上升,物理定律表明高端冷却技术将从风冷到液冷再到相变。
2. 弹载相变传热仿真
相变材料可以被用于许多专门的电子冷却应用中,如在大多数情况下,瞬态功率应用,如导弹中使用的瞬态功率应用实现了这些好处。正如我们所看到的,在相变过程中,材料可能只需少量的温度升高就可以吸收大量的功率。对于导弹等应用,相变材料的机载封装可以吸收电子封装释放的热量,而不需要专用的冷却系统。相变材料吸收热量并熔化。根据热量和相变材料的质量,冷却效果将持续到所有材料熔化。相反的效果是,当材料将潜热释放给周围环境时,就会发生冻结。冷冻效应的应用可能出现在短时间在大气层外飞行的导弹中,在重返大气层之前,可能需要保护电子封装免受太空的极端寒冷。
随着技术的发展,对导引头制导性能和抗干扰性能的要求有了很大的提高。一些高功率芯片也得到了应用,芯片的热耗增加了。另一方面,在导弹飞行过程中,由于与外界空气的剧烈摩擦,整流罩蒙皮的温度急剧上升。随着导弹飞行速度和飞行时间的不断增加,外部环境变得更加严峻。内外部的相互作用使弹载导引头面临着非常复杂的热环境,其热可靠性逐渐成为影响导引头性能的重要因素。仿真计算模型如下图所示。
热量通过热传导从连接环传递到框架底部,来自频率合成器、电源和信号处理器的热量传递到框架外围。功率放大器模块产生的热量被下面的相变散热器吸收。内部和外部的热量相互耦合,最终完成了电子舱的散热过程。
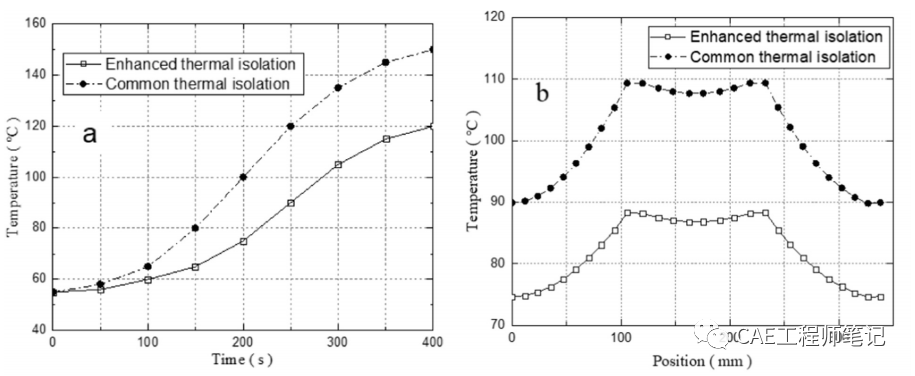
根据连接环处隔热性能的不同,选择两组典型曲线作为系统的输入条件,如下图所示。
不考虑相变散热器和电子舱内部热源的影响,输入和输出如下图所示。
加强型隔热曲线下框架内部线的温差为13.6°C,而普通曲线的温度为19.4°C。因此,框架不同位置的温度梯度是明显的,并且随着热量的增加,温度梯度会变得更大。对于安装在框架上的模块,需要考虑不同位置之间的温差,并做出合理的分布。
仿真计算时变温度边界条件对相变散热器的影响,无论电子舱中热源的影响如何,都使用增强的隔热曲线作为输入。相变散热器在不同时间的温度分布如下图所示。随着框架温度的不断升高,散热器在350秒时发生了相变,底部的四个角在400秒时完全熔化。由于顶部表面没有热源,热量只能从底部向顶部传导,因此顶部表面的温度分布相对均匀。在400s内,顶面基本保持在相变温度,这对安装在其上的功率放大器模块起到了一定的隔热作用。从上面的分析来看,即使没有内部热源,相变散热器在外部气动热的传导下也会释放出一部分潜热。
综上所述,在气动热的影响下,连接框架的温度呈现出明显的梯度分布。框架上中心线的温差可以达到19.4°C。在增强连接环处的隔热性能后,内壁的温度降低了约21°C。由于框架的温度不均匀,局部温度会高于相变材料的熔化温度,并会损失一些潜热,热设计中应考虑该部分的消耗量。
文章来源CAE工程师笔记
工程师必备
- 项目客服
- 培训客服
- 平台客服
TOP




















